Ref No
Part Number
Description
Serial Range
Qty
Price
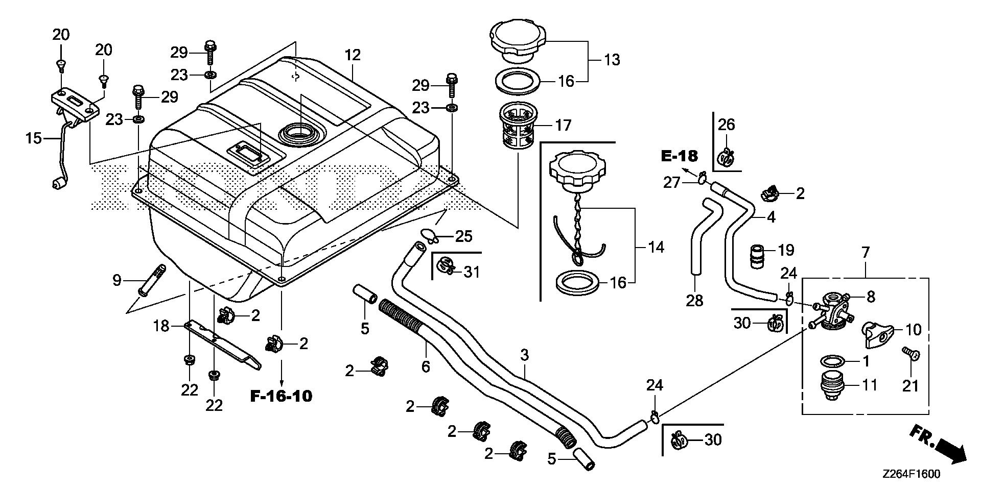
Ref No 1
Part Number 16173-001-004
Description O-RING
Serial Range 1000001 - 9999999
Qty
Price $6.94
Add To Cart
Ref No 2
Part Number 16731-ZE2-003
Description CLIP, TUBE
Serial Range 1000001 - 9999999
Qty
Price $2.92
Add To Cart
Ref No 3
Part Number 16852-Z26-C33
Description TUBE, FUEL TANK (FKM)
Serial Range 1000001 - 9999999
Qty
Price $32.46
Add To Cart
Ref No 4
Part Number 16853-Z26-C31
Description TUBE, FUEL PETCOCK (FKM)
Serial Range 1000001 - 9999999
Ref No 4
Part Number 16853-Z26-C32
Description TUBE, FUEL PETCOCK (FKM)
Serial Range 1000001 - 1508129
Ref No 5
Part Number 16854-Z26-000
Description RUBBER, SUPPORTER
Serial Range 1000001 - 9999999
Qty
Price $5.96
Add To Cart
Ref No 6
Part Number 16865-Z26-000
Description PROTECTOR, TUBE
Serial Range 1000001 - 9999999
Qty
Price $12.72
Add To Cart
Ref No 7
Part Number 16950-Z26-003
Description PETCOCK ASSY.
Serial Range 1000001 - 9999999
Qty
Price $111.04
Add To Cart
Ref No 8
Part Number 16951-Z26-003
Description BODY, PETCOCK
Serial Range 1000001 - 9999999
Qty
Price $63.06
Add To Cart
Ref No 9
Part Number 16952-ZA0-000
Description FILTER, FUEL
Serial Range 1000001 - 9999999
Qty
Price $15.74
Add To Cart
Ref No 10
Part Number 16953-Z03-003
Description LEVER, PETCOCK
Serial Range 1000001 - 9999999
Qty
Price $10.66
Add To Cart
Ref No 11
Part Number 16967-MA2-771
Description CUP, FUEL STRAINER
Serial Range 1000001 - 9999999
Qty
Price $32.46
Add To Cart
Ref No 12
Part Number 17510-Z26-C30ZA
Description TANK, FUEL *R280* (POWER RED)
Serial Range 1000001 - 9999999
Qty
Price $448.36
Add To Cart
Ref No 14
Part Number 17620-Z30-S31
Description CAP, FUEL FILLER
Serial Range 1000001 - 1503599
Ref No 14
Part Number 17620-Z30-S32
Description CAP, FUEL FILLER
Serial Range 1503600 - 9999999
Qty
Price $43.36
Add To Cart
Ref No 15
Part Number 17630-Z26-E82
Description METER ASSY., FUEL
Serial Range 1000001 - 9999999
Qty
Price $23.52
Add To Cart
Ref No 16
Part Number 17631-899-000
Description GASKET, FUEL FILLER CAP
Serial Range 1000001 - 1503599
Ref No 16
Part Number 17631-899-010
Description GASKET, FUEL FILLER CAP
Serial Range 1503600 - 9999999
Ref No 17
Part Number 17670-Z26-C30
Description FILTER, FUEL
Serial Range 1000001 - 9999999
Qty
Price $17.52
Add To Cart
Ref No 18
Part Number 17719-Z26-000
Description HOLDER, FUEL TUBE
Serial Range 1000001 - 9999999
Qty
Price $12.46
Add To Cart
Ref No 19
Part Number 90854-ZB3-000
Description RUBBER, FUEL (9X15X20)
Serial Range 1000001 - 9999999
Qty
Price $4.34
Add To Cart
Ref No 20
Part Number 93600-05010-0A
Description SCREW, FLAT (5X10)
Serial Range 1000001 - 9999999
Qty
Price $0.96
Add To Cart
Ref No 21
Part Number 93700-04018-0G
Description SCREW, OVAL (4X18)
Serial Range 1000001 - 9999999
Qty
Price $0.66
Add To Cart
Ref No 22
Part Number 94050-05000
Description NUT, FLANGE (5MM)
Serial Range 1000001 - 9999999
Qty
Price $1.60
Add To Cart
Ref No 23
Part Number 94103-06700
Description WASHER, PLAIN (6MM)
Serial Range 1000001 - 9999999
Qty
Price $0.88
Add To Cart
Ref No 26
Part Number 95002-40850-08
Description CLAMP, TUBE (D8.5)
Serial Range 1000001 - 9999999
Qty
Price $3.08
Add To Cart
Ref No 28
Part Number 95003-25003-10M
Description BULK HOSE, VINYL (9X11X3000) (9X11X120)
Serial Range 1000001 - 9999999
Qty
Price $20.10
Add To Cart
Ref No 29
Part Number 95701-06016-07
Description BOLT, FLANGE (6X16)
Serial Range 1000001 - 9999999
Qty
Price $1.98
Add To Cart
Ref No 30
Part Number 95002-40800-08
Description CLAMP, TUBE (D8)
Serial Range 1000001 - 9999999
Qty
Price $2.74
Add To Cart
Ref No 31
Part Number 95002-41050-08
Description CLAMP, TUBE (D10.5)
Serial Range 1000001 - 9999999
Qty
Price $3.08
Add To Cart