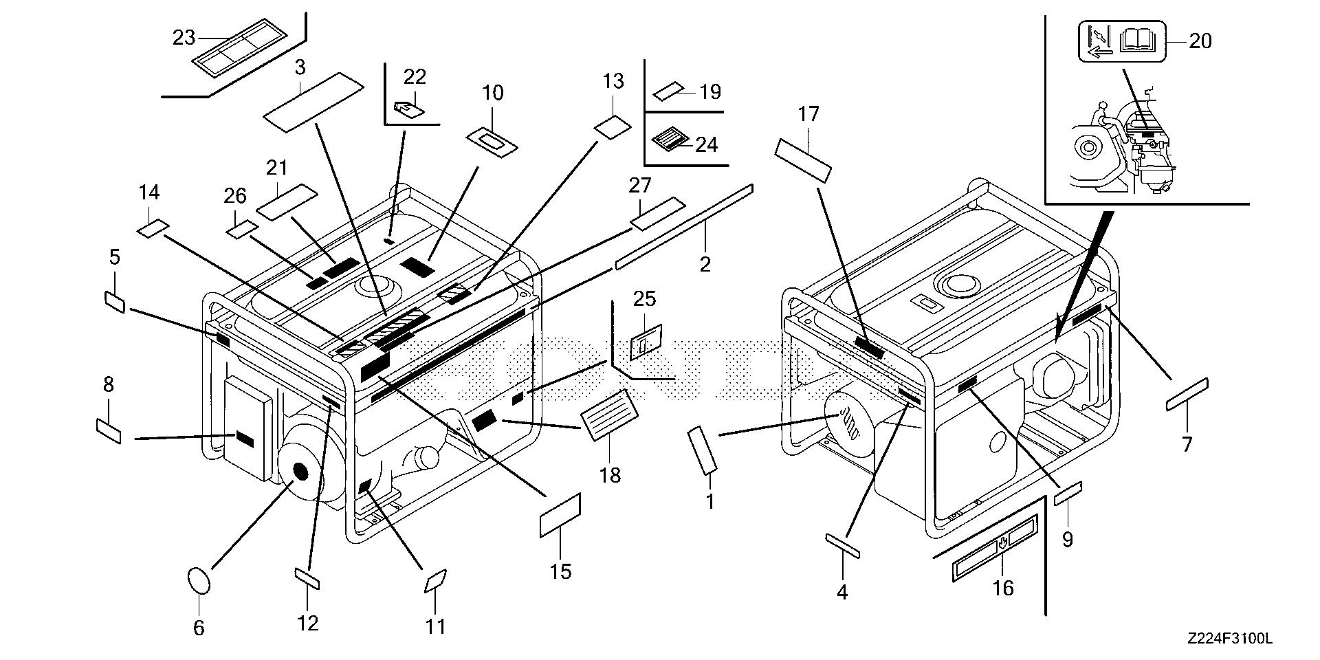
Generators EB EB6500 EB6500X ACH EALC-1000001-9999999 LABELS - DFW Honda

Ref No
Part Number
Description
Serial Range
Qty
Price

Ref No
1
Part Number
31119-ZB4-631
Description
MARK, VOLT
Serial Range
1000001 - 9999999
Qty
Price
$3.94

Ref No
2
Part Number
87101-Z23-E30
Description
MARK, EMBLEM (EB6500X)
Serial Range
1000001 - 9999999
Qty
Price
$177.62

Ref No
3
Part Number
87150-Z22-E31
Description
MARK, CAUTION (E)
Serial Range
1000001 - 9999999
Qty
Price
$19.26

Ref No
3
Part Number
87150-Z22-T30
Description
MARK, CAUTION (E)
Serial Range
1020371 - 9999999
Qty
Price
$19.28

Ref No
5
Part Number
87528-898-620
Description
MARK, CHOKE
Serial Range
1000090 - 9999999
Qty
Price
$2.14

Ref No
6
Part Number
87531-Z15-000
Description
MARK, HONDA
Serial Range
1000001 - 1000089
Qty
Price
$8.12

Ref No
7
Part Number
87531-Z22-E30
Description
MARK, HONDA
Serial Range
1000001 - 9999999
Qty
Price
$9.82

Ref No
9
Part Number
87539-ZA0-B31
Description
MARK, EX. CAUTION
Serial Range
1000090 - 9999999
Qty
Price
$4.52

Ref No
10
Part Number
87565-Z22-620
Description
MARK, FUEL INDICATION
Serial Range
1000001 - 9999999
Qty
Price
$9.68

Ref No
10
Part Number
87565-ZR6-T60
Description
PLATE, FUEL INDICATION
Serial Range
1000178 - 9999999
Qty
Price
$4.46

Ref No
11
Part Number
87594-ZR4-V60
Description
MARK, OIL CHECK
Serial Range
1000001 - 9999999
Qty
Price
$3.22

Ref No
13
Part Number
87715-Z22-A30
Description
MARK, CPSC (CO CAUTION)
Serial Range
1018691 - 9999999
Qty
Price
$3.90

Ref No
16
Part Number
87539-ZS9-R30
Description
LABEL, EX. WARNING (E)
Serial Range
1020119 - 9999999
Qty
Price
$9.50