Generators EM EM6500 EM6500SXK1 A EAPC-1000001-9999999 CONTROL - DFW Honda

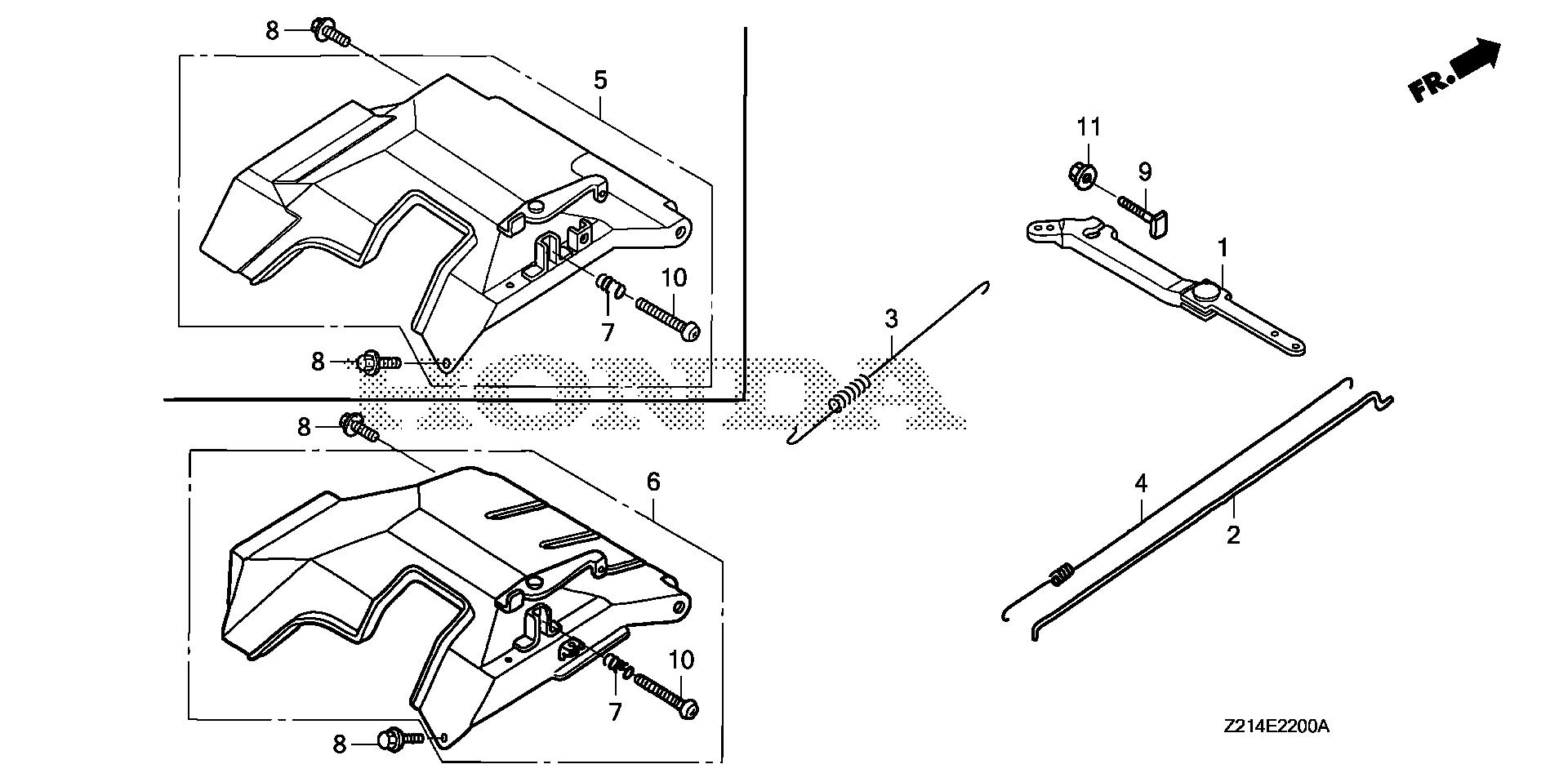
Ref No
Part Number
Description
Serial Range
Qty
Price

Ref No
1
Part Number
16550-ZE3-700
Description
ARM, GOVERNOR
Serial Range
1000001 - 9999999
Qty
Price
$24.68

Ref No
2
Part Number
16555-ZE3-000
Description
ROD, GOVERNOR
Serial Range
1000001 - 9999999
Qty
Price
$5.30

Ref No
3
Part Number
16561-ZF6-D00
Description
SPRING, GOVERNOR (NOT AVAILABLE)
Serial Range
1000001 - 4157779
Qty
Price
$3.62

Ref No
3
Part Number
16561-ZK6-D70
Description
SPRING, GOVERNOR
Serial Range
4157780 - 9999999
Qty
Price
$3.68

Ref No
4
Part Number
16562-ZE3-700
Description
SPRING, THROTTLE RETURN
Serial Range
1000001 - 9999999
Qty
Price
$5.00

Ref No
6
Part Number
16570-ZK3-D70
Description
CONTROL ASSY. (NOT AVAILABLE)
Serial Range
1000001 - 9999999

Ref No
7
Part Number
16584-883-300
Description
SPRING, CONTROL ADJUSTING
Serial Range
1000001 - 9999999
Qty
Price
$5.00

Ref No
8
Part Number
90013-883-000
Description
BOLT, FLANGE (6X12) (CT200)
Serial Range
1000001 - 9999999

Ref No
9
Part Number
90015-ZE5-010
Description
BOLT, GOVERNOR ARM
Serial Range
1000001 - 9999999
Qty
Price
$3.16

Ref No
10
Part Number
93500-05035-0A
Description
SCREW, PAN (5X35)
Serial Range
1000001 - 9999999
Qty
Price
$1.38

Ref No
11
Part Number
94050-06000
Description
NUT, FLANGE (6MM)
Serial Range
1000001 - 9999999