Generators EX EX650 EX650 A GE100-1000001-9999999 EX650 LABELS - DFW Honda

Ref No
Part Number
Description
Serial Range
Qty
Price

Ref No
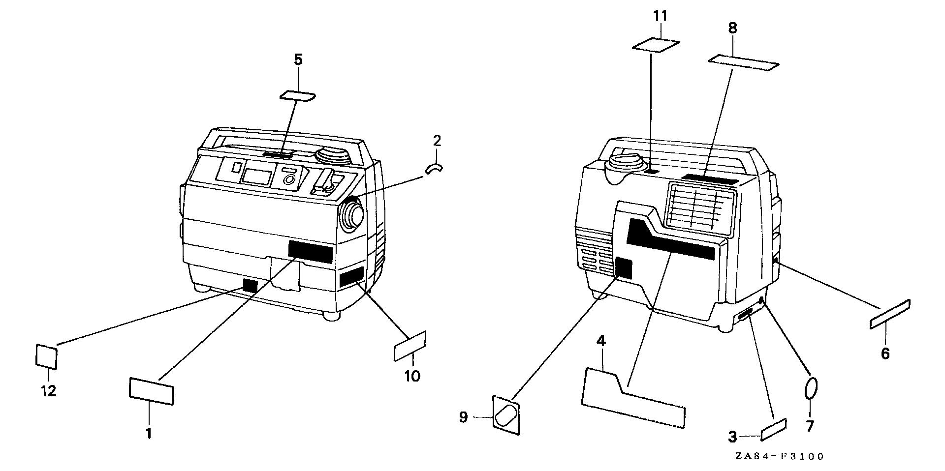
1
Part Number
87101-ZA8-630ZD
Description
MARK, EMBLEM *BLACK* (BLACK)
Serial Range
1031781 - 9999999

Ref No
2
Part Number
87104-ZA8-630
Description
MARK, ENGINE SWITCH
Serial Range
1000001 - 9999999

Ref No
3
Part Number
87116-ZA8-620
Description
MARK, TOOL (NOT AVAILABLE)
Serial Range
1000001 - 9999999

Ref No
4
Part Number
87150-ZA8-630
Description
MARK, CAUTION
Serial Range
1000001 - 9999999

Ref No
5
Part Number
87168-ZC3-630
Description
LABEL, RAIN WARNING (ENGLISH)
Serial Range
1000001 - 9999999
Qty
Price
$5.22

Ref No
6
Part Number
87524-ZA8-630
Description
MARK, D.C. CAUTION
Serial Range
1000001 - 9999999

Ref No
7
Part Number
87534-892-640
Description
MARK, GROUND
Serial Range
1000001 - 9999999
Qty
Price
$2.40

Ref No
8
Part Number
87539-ZA8-620
Description
MARK, EX. CAUTION
Serial Range
1000001 - 9999999

Ref No
9
Part Number
87543-ZA8-630
Description
MARK, FREQUENCY POSITION
Serial Range
1000001 - 9999999

Ref No
10
Part Number
87563-ZB4-631
Description
LABEL, CONNECT WARNING (ENGLISH)
Serial Range
1000001 - 9999999
Qty
Price
$6.62

Ref No
11
Part Number
87565-ZA8-620
Description
MARK, FUEL
Serial Range
1000001 - 9999999
Qty
Price
$2.40

Ref No
12
Part Number
87594-ZA8-620
Description
MARK, OIL CAUTION
Serial Range
1000001 - 9999999
Qty
Price
$3.82