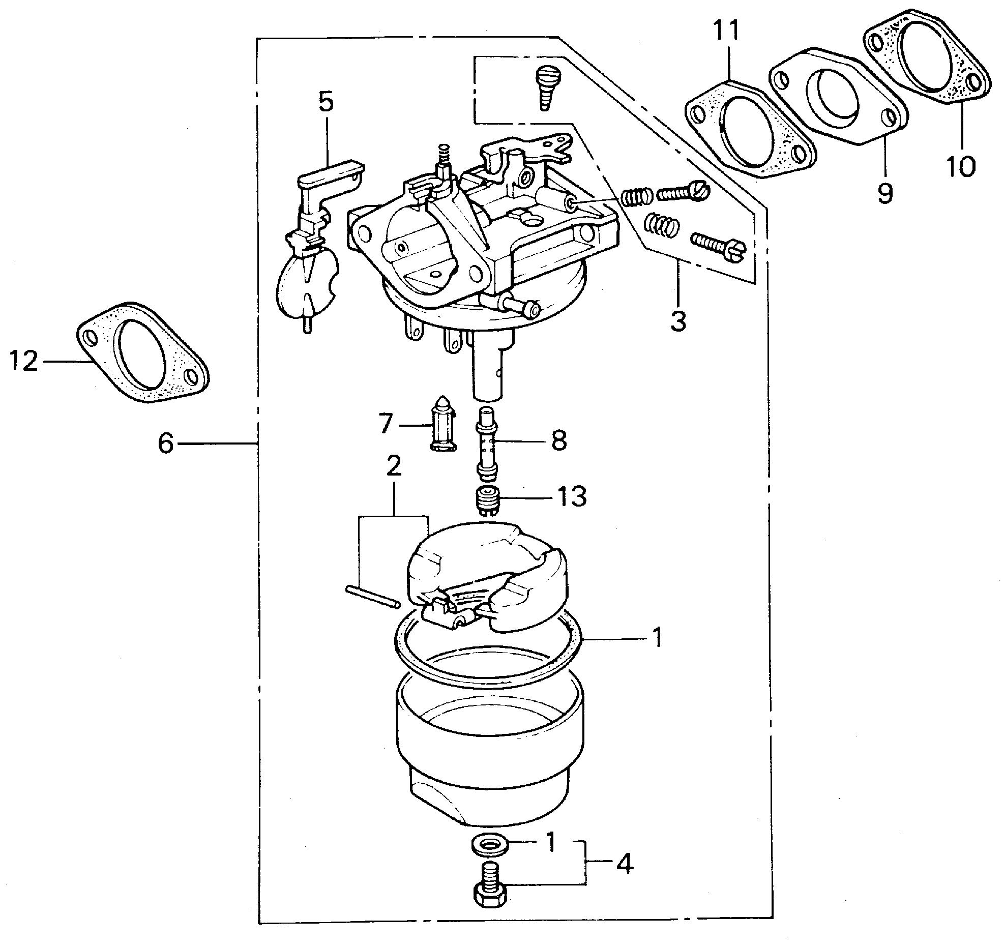
Water Pumps WA WA30 WA30 C WA30-1005563-9999999 CARBURETOR (2) - DFW Honda

Ref No
Part Number
Description
Serial Range
Qty
Price

Ref No
1
Part Number
16010-883-015
Description
GASKET SET
Serial Range
1000001 - 9999999

Ref No
2
Part Number
16013-883-005
Description
FLOAT SET
Serial Range
1000001 - 9999999
Qty
Price
$37.64

Ref No
3
Part Number
16016-883-661
Description
SCREW SET A
Serial Range
1000001 - 9999999

Ref No
4
Part Number
16028-883-005
Description
SCREW SET B
Serial Range
1000001 - 9999999

Ref No
4
Part Number
16028-ZK7-S91
Description
SCREW SET
Serial Range
1000001 - 9999999
Qty
Price
$13.14

Ref No
5
Part Number
16044-883-015
Description
CHOKE SET
Serial Range
1000001 - 9999999
Qty
Price
$40.02

Ref No
6
Part Number
16100-883-105
Description
CARBURETOR ASSY. (BB30C A)
Serial Range
1484487 - 9999999
Qty
Price
$74.56

Ref No
7
Part Number
16155-883-005
Description
VALVE, FLOAT
Serial Range
1484487 - 9999999

Ref No
8
Part Number
16166-883-005
Description
NOZZLE, MAIN
Serial Range
1000001 - 9999999
Qty
Price
$12.38

Ref No
9
Part Number
16211-883-000
Description
INSULATOR, CARBURETOR
Serial Range
1484487 - 9999999
Qty
Price
$16.56

Ref No
10
Part Number
16212-883-800
Description
GASKET, INSULATOR
Serial Range
1484487 - 9999999
Qty
Price
$2.38

Ref No
11
Part Number
16221-883-306
Description
GASKET, CARBURETOR
Serial Range
1335196 - 9999999

Ref No
11
Part Number
16221-887-800
Description
GASKET, CARBURETOR
Serial Range
1335196 - 9999999
Qty
Price
$3.24

Ref No
12
Part Number
16269-883-800
Description
GASKET, AIR CLEANER
Serial Range
1335196 - 9999999
Qty
Price
$1.64

Ref No
13
Part Number
99101-124-0650
Description
JET, MAIN (#65)
Serial Range
1000001 - 9999999
Qty
Price
$12.30

Ref No
13
Part Number
99101-124-0680
Description
JET, MAIN (#68)
Serial Range
1000001 - 9999999
Qty
Price
$10.98

Ref No
13
Part Number
99101-124-0700
Description
JET, MAIN (#70)
Serial Range
1000001 - 9999999
Qty
Price
$10.98

Ref No
13
Part Number
99101-124-0720
Description
JET, MAIN (#72)
Serial Range
1000001 - 9999999
Qty
Price
$10.98